Итак, только недавно мы сообщали о том, что в ближайшее время предвидится сильное падение цен на модули оперативной памяти. и по всей видимости, компания Samsung встала на путь борьбы с этим несчастьем: она решила в 2019 году сократить объемы производства микросхем. По данным источника, Samsung
Если верить источникам, то компания Samsung Electronics уже начала работу над новым смарфтонов линейки Galaxy Note, который будет проходить под кодовым названием da Vinci. Разработчики собираются воплотить в юбилейном Galaxy Note X самые последние и уникальные инновации, например, возможности
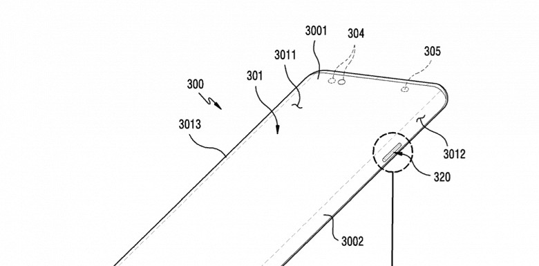
Последние флагманы с "бесконечным экраном" имеют едва заметные рамки, на которых находятся кнопки включения, регулировки громкости и голосового ассистента Bixby. Корейская компания видит свои флагманы в будущем с еще более тонкими боковыми рамками. Samsung зарегистрировал новый патент.
Как сообщили источники, Samsung Electronics определились с характеристиками своего первого телефона со сгибающимся дисплеем, экран будет сгибаться во внутрь. Называете данного аппарата- Winner, OLED-экран в разогнутом положении будет иметь диагональ 7,3 дюйма, а радиус сгиба составит всего 1,5 мм.
Буквально на днях компания Samsung Electronics отрапортовала о своей работе, которая была произведена во втором квартале 2018 года, которая была завершена 30 июня. Выручка гиганта Южной Кореи, за трехмесячный период составила примерно 58.48 трлн вон, что приблизительно равно 52.2млрд долларов. Этот
